不同形式管道伸缩器的工作原理示意图

加入时间:2020/8/24 8:40:56 浏览:690次

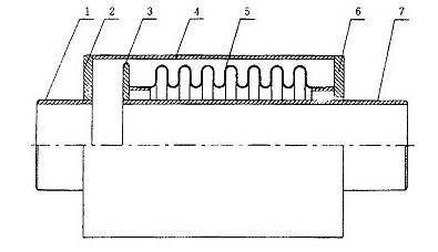
 管道伸缩器是管道连接中由于热胀冷缩引起的尺寸变化给予补偿的连接件。管道伸缩器常用的有两种,一种是波纹伸缩器,另一种是限位伸缩器。

波纹伸缩器特点:主要用于补偿轴向位移,也可以补偿横向位移或轴向与横向合成位移,具有补偿角位移的能力,但一般不应用它补偿角位移。连接方式:1、法兰连接 2、接管连接。
                 波纹伸缩器工作原理图          

                     

限位伸缩器在工作时可以反轴向推力传递至整个管道,能降低被连接件的压力推力(盲板力)和补偿管路安装误差。
            限位伸缩器工作原理

返回顶部